希望没事!加拿大U型池选手落地摔倒受伤比赛一度暂停 被担架抬出
斯维托丽娜2-1逆转鲁季奇,晋级WTA迪拜站四强,半决赛将再战高芙
破纪录夺金!宁忠岩:今天滑疯了;教练报表我还以为给我报假表了
击败强敌!宁忠岩战胜的斯托尔兹本届3项个人项目拿了2块金牌
情难自已!破奥运纪录夺1500米速滑金牌,宁忠岩颁奖时泪洒现场!
成绩均为2胜7负!米兰冬奥会中国男女冰壶循环赛双双垫底

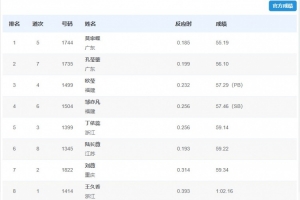
体育资讯11月17日讯 全运会田径女子400米栏决赛,莫家蝶以55秒19的成绩夺得金牌,孔莹蓥获得银牌,欧莹获得铜牌。
女子400米栏决赛成绩详情如下:
1 莫家蝶 55.19
2 孔莹蓥 56.10
3 欧莹 57.29(PB)
4 邹亦凡 57.46(SB)
5 丁依蕊 59.14
6 陆长薇 59.22
7 刘薇 59.34
8 王久香 1:02.16